Revoluce v MTB: SRAM vyvíjí zcela bezdrátový brzdový systém
Svět horských kol možná čeká nejradikálnější inovace za poslední roky. Společnost SRAM pracuje na plně bezdrátovém brzdovém systému, který zcela odstraní kabely z kokpitu a jednotku schová do rámu. Systém slibuje ostřejší odezvu, softwarové ladění výkonu a především inovativní bezpečnostní mechanismus inspirovaný brzdami nákladních vozidel.
Společnost SRAM je údajně blízko k odhalení jedné z největších inovací v historii horské cyklistiky: plně bezdrátového brzdového systému bez viditelných kabelů na kokpitu. Zatímco konkurence používá tenké elektronické hadičky, SRAM posouvá integraci na novou úroveň odstraněním veškerého vnějšího vedení.
Jak má tento revoluční systém fungovat?
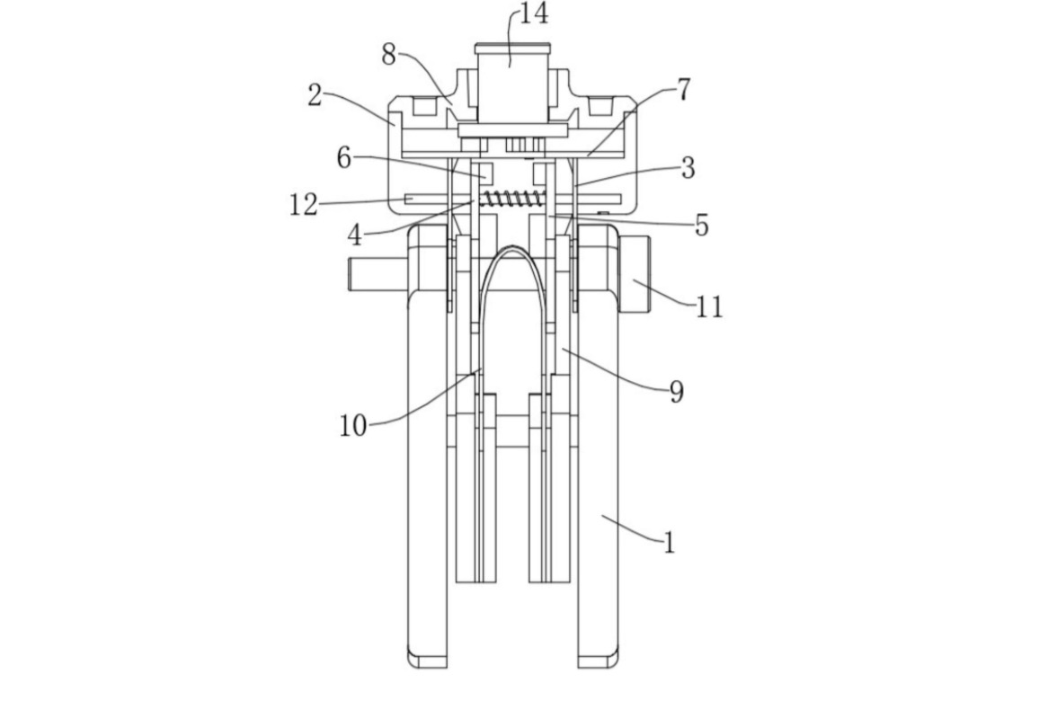
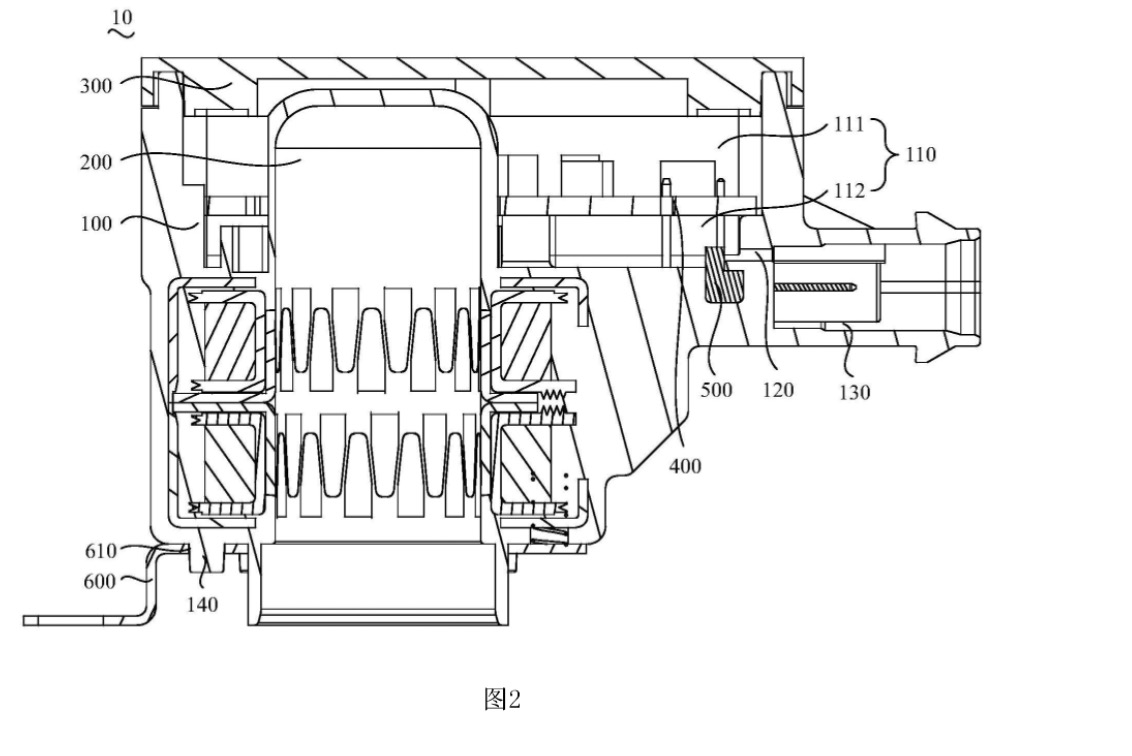
Jádrem technologie je piezoelektrický senzor umístěný uvnitř brzdové páky. Tento senzor má za úkol měřit sílu, pohyb, rotaci a rychlost, a následně tato data bezdrátově odeslat řídicí jednotce.
Řídicí jednotka informace přenáší rádiovým signálem k vzdálenému aktivátoru, který je skrytý uvnitř rámu. Tento aktivátor pohání malý elektrický motor. Motor tlačí na hydraulický píst poblíž brzdového třmenu, čímž dojde k aktivaci brzd.

Výsledkem je čistý kokpit a brzdová jednotka plně integrovaná do rámu. Kromě estetiky slibuje systém i ostřejší odezvu a možnost softwarového ladění brzdné síly podle potřeb jezdce.
Bezpečnost na prvním místě
Hlavní otázkou u takto radikálního řešení je vždy bezpečnost a spolehlivost v případě selhání elektroniky. SRAM se na to zaměřil a k systému připravuje i bezpečnostní mechanismus (fail-safe), který je miniaturizovanou verzí systémů používaných u brzd nákladních vozidel.

Pokud by nastala jakákoliv porucha, pružinový mechanismus automaticky aktivuje kontrolované a progresivní brzdění. To zajišťuje, že nedojde k náhlému zablokování kol ani k úplnému výpadku brzd.
Podle patentů, které tuto technologii dokládají, je vývoj již v pokročilé fázi. Zdá se, že budoucnost MTB je plně bezkabelová a může přijít dříve, než cyklistický svět očekává.